發布日期:2022-03-23 瀏覽:1539 次
試驗目的
驗電器是通過檢測流過驗電器對地雜散電容中的電流來指示電壓是否存在的裝置。高壓驗電器是用來檢查高壓線路和電力設備是否帶電的工具,是變電站常用的最基本的安全用具。投入使用的高壓驗電器必須是經電氣試驗合格的驗電器,高壓驗電器必須定期試驗,確保其性能良好。
試驗儀器
試驗變壓器及控制臺
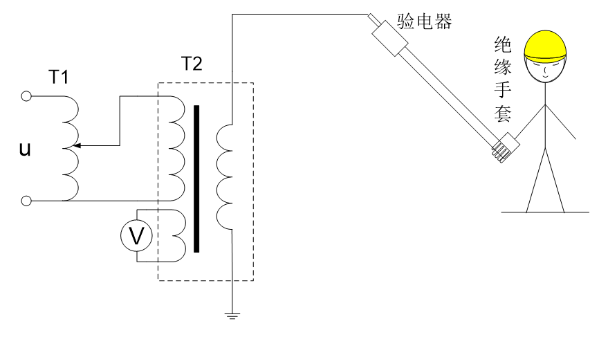
試驗接線

試驗步驟
1、外觀檢查:驗電器各部分聯結應牢固可靠,指示器應密封完好,表面應光滑、平整,指示器上的標志應完整。絕緣桿內外表面應清潔、光滑,無劃痕及硬傷。
2、將驗電器的接觸電極與試驗變壓器高壓端相接觸,逐漸升高試驗電壓,當“電壓存在”的指示信號出現時測量啟動電壓。
試驗標準:
根據《國家電網公司電力安全工作規程(變電部分)》附錄J:
啟動電壓值不高于額定電壓的40%,不低于額定電壓的15%
試驗注意事項
1.試驗過程中試驗人員之間應分工明確,加壓前應呼唱,加壓過程中應有人監護。
2.試驗變壓器的金屬外殼應可靠接地,儀器操作人員應站在絕緣墊上。
3. 加壓時手持驗電器的試驗人員應戴絕緣手套。
試驗周期:
新購置;12個月。
優力克電力是電力試驗設備的生產廠家,我們的產品全程提供專業的技術服務。

本公司生產全面貫徹 ISO9001:2015 質量管理體系認證證書及文字商標和圖片商標注冊

本公司與武漢各大高校和武漢高壓研究所有著緊密合同關系,有著明細的技術優勢和穩定技術方案

公司具有專業的銷售和技術支持團隊隨時了解和客戶溝通產品的應用情況,提供一對一高效專業的服務

產品全部執行ISO9001質量管理體系,SMT自動化的生產,半成品檢測,成品檢測拷機,讓每一個產品都經過5次以上的100%測試,確保產品質量100%

公司具有精準的預期備貨和保持穩定的安全庫存,滿足客戶的緊急需求和批量性采購需求

公司產品每年抽樣送第三方檢驗(如湖北省技術監督局、武漢市計量院),符合出廠標準和第三方檢測指標要求